Rod-Retro Conversion Kit for Stationary and Portable Tables

SKU:

$192.00

( / )
无提供

Notify me when this product is available:

请选择所有选项.

选择一个Color
选择一个Size
Finance with
As low as
$/mo
Apply in 60 seconds | Lenders compete

Notify me when this product is available:

IN ORDER FOR US TO PROCESS THIS ORDER WE MUST RECEIVE A PICTURE OF YOUR TABLE'S CURRENT FACE PILLOW ATTACHMENT POINT 

info@touchamerica.com (please include your order number in the header)

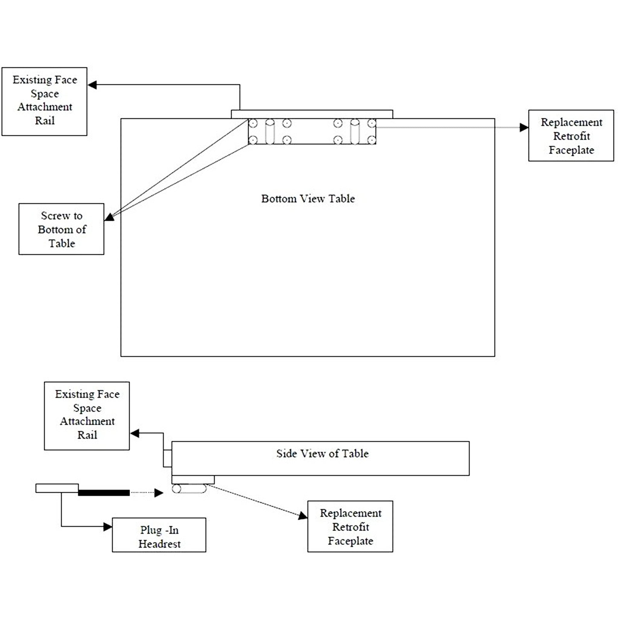
If you have 5/16 holes in your stationary table this adapter plate will allow you to use our new Contour Deluxe Face Cradle

Instructions for Portables 

Instructions for Stationary Tables