Inicio
Colecciones
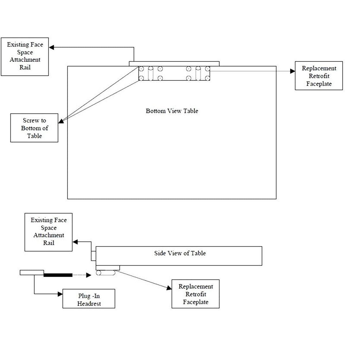
Accesorios para mesas de masaje | Accesorios para masaje corporal
/
Página 1 de 1
Accesorios para mesas de masaje | Accesorios para masaje corporal
La terapia de masaje consiste en brindar a sus clientes una experiencia relajante y rejuvenecedora. Para crear el ambiente perfecto y garantizar la comodidad de sus clientes, es fundamental invertir en los mejores accesorios para camillas de masaje. Contáctenos .